一.引言
CAD技術的應用目前已經從傳統的二維繪圖逐步向三維設計過渡。從實現制造業信息化的角度來說,產品的三維模型可以更完整地定義和描述設計及制造信息。在產品設計和開發過程中,零部件的標準化、通用化和系列化是提高產品設計質量、縮短產品開發周期的有效途徑,而基于三維CAD系統的參數化設計與二維繪圖相比更能夠滿足制造信息化的要求。UGNX是美國EDS公司的CAD/CAE/CAM一體化軟件,具有強大的參數化設計功能,在設計和制造領域得到了廣泛的應用。本文以UGNX為支撐平臺,介紹了三維參數化建模的實現方法,結合實例分析了一種三維零件庫的建立方法。
二.參數化設計思想
在使用UG軟件進行產品設計時,為了充分發揮軟件的設計優勢,首先應當認真分析產品的結構,在大腦中構思好產品的各個部分之間的關系,充分了解設計意圖,然后用UG提供的強大的設計及編輯工具把設計意圖反映到產品的設計中去。因為設計是一項十分復雜的腦力活動,一項設計從任務的提出到設計完成從來不會是一帆風順的,一項設計的完成過程就是一個不斷改進、不斷完善的過程,因此,從這個意思上講,設計的過程就是修改的過程,參數化設計的目的就是按照產品的設計意圖能夠進行靈活的修改,所以它的易于修改性是至關重要的。這也是UG軟件為什么特別強調它的強大的編輯功能的原因。
三.三維參數化建模的實現方法
1 系統參數與尺寸約束
UGNX具有完善的系統參數自動提取功能,它能在草圖設計時,將輸入的尺寸約束作為特征參數保存起來,并且在此后的設計中進行可視化修改,從而到達最直接的參數驅動建模的目的。用系統參數驅動圖形的關鍵在于如何將從實物中提取的參數轉化到UG中,用來控制三維模型的特征參數。尺寸驅動是參數驅動的基礎,尺寸約束是實現尺寸驅動的前提。UG的尺寸約束的特點是將形狀和尺寸聯合起來考慮,通過尺寸約束實現對幾何形狀的控制。設計時必須以完整的尺寸參考為出發點(全約束),不能漏注尺寸或多注尺寸。尺寸驅動是在二維草圖Sketcher里面實現的。當草圖中的圖形相對于坐標軸位置關系都確定,圖形完全約束后,其尺寸和位置關系能協同變化,系統將直接把尺寸約束轉化為系統參數。
2 特征和表達式驅動圖形
UGNX建模技術是一種基于特征的建模技術,其模塊中提供各種標準設計特征,各標準特征突出關鍵特征尺寸與定位尺寸,能很好的傳達設計意圖,并且易于調用和編輯,也能創建特征集,對特征進行管理。特征參數與表達式之間能相互依賴,互相傳遞數據,提高了表達式設計的層次,使實際信息可以用工程特征來定義。不同部件中的表達式也可通過鏈接來協同工作,即一個部件中的某一表達式可通過鏈接其它部件中的另一表達式建立某種聯系,當被引用部件中的表達式被更新時,與它鏈接的部件中的相應表達式也被更新。
3 利用電子表格驅動圖形
UG的電子表格 (Spreadsheet)提供了在Microsoft Excel或Xess與UG間一個智能接口。在建模應用里,UG電子表格可以被認為是高級的表達式編輯器。信息可以從部件被抽取到電子表格里,在被用來更新部件前進行手工處理。事實上,表格驅動的界面及機內函數為相關的、參數化設計提供了方便而有力的工具。
四.應用實例分析
下面通過六角螺母C級(GB/T 41-2000)三維模型的創建實例來說明參數化建模方法。

表1 螺紋規格
1 分析零件模型提取特征參數

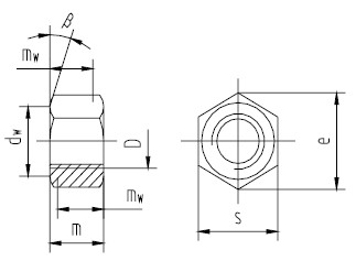
圖1 螺母尺寸
如圖1,六角螺母主要尺寸特征有D、s、m,可將這三個尺寸作為主要參數驅動螺母圖形。螺母的模型可通過拉伸得到,在建模時應特別注意拉伸體、倒角及螺紋孔這三個主要特征以及他們的關系。#p#分頁標題#e#
2 螺母底面在草圖中的尺寸約束

圖2 繪制基圓

圖3 繪制六邊形

圖4 添加幾何表達式
螺母底面為六邊形,在草圖中選s作為主要參數驅動圖形。進入草圖模式,如圖2所示,繪制一個圓,圓心約束在坐標中心,標注直徑尺寸,命名為s。如圖3,繪制六邊形,約束其六邊外切與s圓、六邊相等及對邊互相平行。退出草圖模式,選Tools—〉Expression(Ctrl+E),點選幾何表達式按鈕,選取對角線距離作為一個參數,命名為e,如圖4。最后繪制一個圓,約束為與s圓同心,直徑為e。
3 螺母實體的生成及倒角
拉伸六邊形,高度值在表達式中命名為m。拉伸e圓,高度為m(e圓拉伸出來的圓柱是為了在螺母上倒角而增加的輔助實體,高度值隨主要參數m變化)。在e圓柱上偏置倒角,偏置值e/2-s/2(UGNX允許直接輸入公式作為參數值),角度30度。交集運算e圓柱和六方柱得到螺母實體。在螺母中心放置孔特征,參數命名為D。
至此,我們在草圖空間建立了螺母底面的草圖模型,由一個主要參數s驅動。模型中的所有圖形相對于坐標軸完全約束,其尺寸和位置關系能協同變化,系統自動把尺寸約束轉化為系統參數,是整個模型的參數化的核心,其修改可以進入草圖修改或由表達式修改。另外,該模型引入了一個距離值作為參考參數,在倒角的建立中,倒角偏置參數由表達式(e/2-s/2)負責傳遞相關參數,使圖形具有相關性的特點。
五.參數化模型基礎上的三維零件庫
1 創建三維零件庫的基本原理
根據相似性原理對需要建庫的零件進行分類,確定其能夠完整表示零件族或零件系列所有零件特征的復合零件。復合零件是在UGNX環境下用交互方式創建的三維零件模型,我們稱其為三維零件樣板。復合零件綜合了該零件族所有零件個體的形狀和結構特征,即基于復合零件可以派生該零件族的任何一個零件,零件可以繼承復合零件的全部特征或部分特征。之后,在三維零件樣板的基礎上確定一組設計參數來控制模型的形狀和拓撲關系,并建立零件族設計參數的系列尺寸。最后,通過選擇不同系列尺寸來自動生成零件的三維模型,從而實現三維零件庫的創建。
2 生成三維零件樣板
利用UGNX的Part families工具可以方便的定義零件主要參數生成系列化零件數據庫。進入Tools—〉Part families,選取表達式中的D、m、s作為提取參數,設置好保存目錄,選擇Create命令進入Excel工作表。在Excel里面,根據標準零件系列尺寸或標準件的標準規格尺寸錄入零件控制參數的值。如圖5所示。保存族并退出Part families,帶Excel參數表的三維零件樣板生成。

圖5 Part families中錄入數據

圖6 引入樣本庫
3 三維零件庫的調用
三維零件樣板作為裝配件引入主模型,如圖6,在匹配成員列表里面會出現之前我們在Excel工作表里面錄入的所有規格,選擇需要的規格加入,這樣零件生成。如圖7。

圖7 根據樣本生成的系列零件
六.結論
利用UGNX提供的強大相關參數化建模功能,能夠方便編輯修改,加速設計進程。在相關參數化模型基礎上,借助零件族的Excel工作表,可以快速準確地創建標準件、通用零件及產品系列化設計的三維模型庫。本文提出的建庫方法簡單,不需要編程,不涉及復雜的數據庫技術,很適合產品設計和開發人員。#p#分頁標題#e#
相關文章
- 2021-08-30電影風暴2:Maya影像實拍與三維合成攻略PDF下載
- 2021-08-30高等院校藝術設計案例教程中文版AutoCAD 建筑設計案例
- 2021-08-28計算機輔助設計與制造 21世紀全國應用型本科大機械系
- 2021-08-28計算機輔助設計與制造(CAD∕CAM)PDF下載
- 2021-08-27計算機輔助設計與制造 21世紀全國應用型本科大機械系
- 2021-08-27計算機輔助設計與制造(CAD∕CAM)PDF下載
- 2021-08-24經典技法118例AutoCAD 機械設計經典技法118例中文版_
- 2021-08-24經典實例學設計AutoCAD 2016從入門到精通 [李軻 編著]
- 2021-08-24精通AutoCAD 2013電氣設計 [李波 主編] 2013年PDF下載
- 2021-08-24精通AutoCAD 2013機械設計_李波,辛雄主編_2013PDF下載