數控機床的開發、研制及生產,在我們的生產過程中,大量成功地使用了MPC01運動控制卡。在我們對MPC01運動控制卡進行二次開發的過程中有許多成功的范例,現舉一例MPC01系列控制卡在四軸鉆床中的應用。
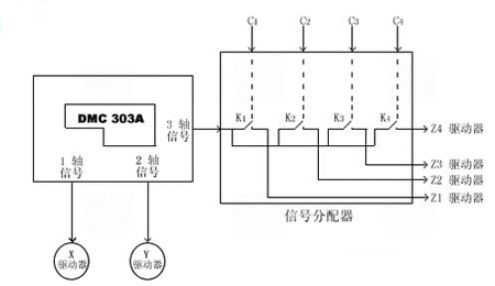
我們在四軸數控鉆床上采用了MPC01運動控制板卡。這種鉆床的運動有一個特殊性:Z向四軸的動作完全同步。為了節約成本,同時考慮到這種運動的特殊性,我們只用了一塊DMC303A三軸卡來控制六根軸的運動。具體方法是:將DMC303A的第1、2軸分配給X、Y方向使用,第3軸的信號通過分頻電路將一路控制信號分配給Z向的四個電機,從而成功的實現了同時控制六個軸的運動。這樣既降低了成本,又實現了Z向四個鉆頭動作的完全同步,使機床整體性能得到了大幅提高。
其控制過程如下:

當C1有效時,開關K1閉合,DMC303A的Z向信號經分頻器送到驅動器Z1上,實現對Z1軸的可選擇性控制,依次類推。當C1、C2、C3、C4同時有效時,開關K1、K2、K3、K4同時閉合,使得Z向四軸能夠同時運動。鑒于我們的四軸數控鉆床Z1、Z2、Z3、Z4工作軸的運動是同步運動或同步靜止兩種狀態,所以可以通過C1、C2、C3、C4的預先設置,來實現一路信號控制四個軸的運動。無油軸承
通過對MPC01系列運動控制卡的應用,四軸數控鉆床機床性能得到了明顯提高,特別是機床運行中的快速性和平穩性尤其令我們感到滿意。
相關文章
- 2021-09-08BIM技術叢書Revit軟件應用系列Autodesk Revit族詳解 [
- 2021-09-08全國專業技術人員計算機應用能力考試用書 AutoCAD2004
- 2021-09-08EXCEL在工作中的應用 制表、數據處理及宏應用PDF下載
- 2021-08-28計算機輔助設計與制造 21世紀全國應用型本科大機械系
- 2021-08-27計算機輔助設計與制造 21世紀全國應用型本科大機械系
- 2021-08-23零基礎學AutoCAD 2012電氣制圖工程應用 [張立富,陳剛,彭
- 2021-08-22AutoCAD 室內裝潢設計應用大全中文版 [馬永志,鄭藝華,劉
- 2021-08-22AutoCAD 2013應用與開發系列中文版AutoCAD 2013室內裝
- 2021-08-22AutoCAD 2013應用與開發系列中文版AutoCAD 2013機械圖
- 2021-08-14新編AutoCAD 2004中文版計算機輔助設計應用技能培訓教