軸瓦是用于發動機內曲軸軸頸等部位的滑動軸承,其構成是由一種以鋼帶為襯底、表面附著一層軸承合金的雙金屬鋼帶,并通過一系列的加工而成。這層軸承合金通常有三種:巴氏合金、鋁錫合金和銅鉛合金。本機是為紹興紡織機械廠設計制造的用于加工EQ140-1主軸翻邊瓦(圖1)的內圓精加工拉床。此主軸翻邊瓦的軸承合金為鋁錫合金,拉床切削的部分即為軸承合金層部分。

1.床身 2.上料裝置 3.夾具 4.拉刀 5.下料裝置
6.理料槽 7.油缸 8.控制電柜 9.液壓站
圖2 機床總體布局
5 機床的主要部件及技術要求
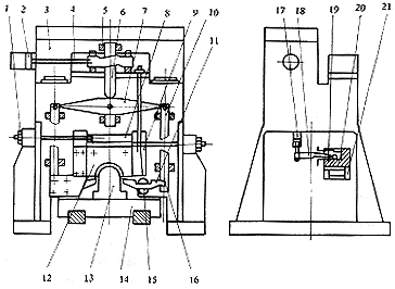
機床的夾具采用龍門式結構(見圖3),具有支承拉胎、夾緊工件的功能。由于夾具要承受全部的拉削力,所以要有足夠的剛性,以抵擋拉削時大約20000N的沖擊力。
圖3 夾具
夾緊機構是夾具的關鍵部件。第一,要求在夾緊時不影響拉削過程,由于軸瓦的夾壓點在軸瓦對口面的鋼背上,而鋼背厚度為2.15mm,夾壓寬度最大為2mm,故每次動作時壓板的位置一定要準確,以免壓多了碰刀,壓少了又壓不著。所以壓板要設定定位臺階。放松時壓板縮回要充分,以免下料時碰零件。第二,夾緊力要合適,一般夾壓力為檢測軸瓦高度時所施力的150%,本機為11000N,較為適宜。如果夾緊力太大,會在軸瓦夾壓點上留下夾壓的痕跡;夾緊力太小,軸瓦定位面與拉胎定位面的貼合率達不到80%以上,又會影響拉削精度的穩定性。第三,軸瓦兩個對口面上夾壓力要相等,否則軸瓦便會在拉胎內轉動。本機床采用對稱的拉桿施力機構,可使兩邊的夾壓力相等。第四,夾緊要自鎖,以免在拉削中油缸大量進油時引起油壓波動而影響產品精度的穩定性。本機床采用斜面自鎖裝置,自鎖角度為13°(見圖3),能可靠地鎖緊。
拉胎是一個高精度的零件,夾具體上拉胎支承面也要求有較高的精度。但由于安裝后拉胎圓弧面的曲線與圓拉刀的軸線難以同心,所以拉胎在夾具上應有上下左右的微量調整,見圖3。本機采用1∶100的斜面進行調整,方便可靠,精度保持性良好。
由于軸瓦是個有彈性的零件,當夾緊壓板松開后,零件一般不會自己掉下來,所以需要在鋼背上打擊一下。為了不把零件打傷,材料裝置(見圖3)中的打料杠桿有意削掉一部分,形成一個薄弱的缺口,以便增加彈性,緩沖打擊力,既避免打傷零件,又不影響加工的節拍。
滑臺(見圖4)是帶動拉刀進行切削的動力部件,其好壞直接影響著零件的加工精度。本機床的滑臺為一油壓驅動滑臺,該滑臺要有較高的直線運動精度、較大的推動力(本機油缸推力為35000N)和較高的運動速度。這不僅可以提高效率,而且可以改善零件的表面粗糙度和減少切削阻力。其滑臺的拉削速度為20m/min,返回速度為34m/min。而舊式的滑動導軌滑臺是難以達到這些要求的,因此,本機床采用無間隙滾動導軌,選用六個滑塊(每根導軌三個滑塊,見圖4),并提高了滑鞍的剛性和承載能力。由于滾動導軌具有較高的直線運動精度(0.008/1000)和較小的滾動摩擦系數(0.005),而且可以對導軌進行預緊,形成無間隙滾動,從而保證了滑臺在較大的負載阻力下能平穩地作直線運動,不僅發熱較小,而且維修和更換都很方便。
1.滑塊 2.滑鞍 3.油缸 4.壓板 5.壓塊 6.油缸支座 7.導軌 8.床身
圖4 滑臺#p#分頁標題#e#
滑臺油缸也是一個關鍵部件,由于滑臺的運動速度較高,所以油缸要有良好的緩沖裝置,以減小沖擊。本油缸采用前、后蓋可調緩沖裝置,見圖5。以后蓋為例,其原理為:當件4進入件3后,三角槽開始節流,A腔油通過三角槽進入B腔;當三角槽封閉后,A腔油經過可調節流錐閥進入B腔,從而形成比三角槽更小的節流,并形成緩沖。此種結構產生的緩沖效果理想,即使機床在高速運行后再停止,也感覺不到有沖擊現象。
1.活塞 2.缸筒 3.節流環 4.阻尼套 5.節流錐閥 6.油口 7.擋鐵 8.后蓋 9.活塞桿 10.鋼球 11.彈簧 12.三角槽
圖5 緩沖裝置
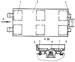
刀具與零件的加工質量有著最密切的關系。本機床的拉刀由9片圓形刀片用心軸貫穿鎖緊而成(見圖6),第1~第4片為粗切削刀片,每齒升量均為0.1mm,第5~第8片為切齒和校對齒,齒升量見表2。第9片為偏心安裝(心軸后部有個向下偏心2mm的臺階),用來切削軸瓦兩邊的油槽。整個拉刀由刀架固緊在滑鞍上,松開時每個刀片均可轉動。當刀片磨損后,將刀片轉動180°可繼續使用。另外,拉刀在使用之前最好研磨一下,這樣拉出的軸瓦精度穩定,拉削面光亮如鏡,粗糙度可達Ra0.1μm;否則拉出的零件表面上有一條一條的痕跡。

1.托料板 2.集料槽 3.彈簧 4.隔料板 5.螺母 6.頂料口 7.撞塊 8.滑臺 9.支架 #p#分頁標題#e#
1.滑臺 2.推料器 3.滑道 4.滑塊 5.拉簧 6.理料槽 7.支架
圖7 上料裝置
圖8 下料裝置
6 結束語
本機床經用戶幾年的使用表明:能自動正常運行,故障少,精度穩定。其穩定精度為:壁厚公差為0.007mm,表面粗糙度為Ra0.1μm,生產率為650片/小時。本機床只需要更換拉胎部件、拉刀(同直徑不換)和調整集料槽,就可適應不同種類、不同規格、不同材料軸瓦的加工,其不足之處是排屑不很理想。
1.微調螺母 2.夾緊油缸 3.夾具體 4、6、10.拉桿 5.斜槽滑塊 7.平衡杠桿 8、9.微調斜塊 11.壓板 12、21.拉胎 13.刀具 14.滑臺 15.轉軸 16.轉銷 17.打料油缸 18.打料杠桿 19.擋塊 20.打料滑塊相關文章
- 2021-09-08BIM技術叢書Revit軟件應用系列Autodesk Revit族詳解 [
- 2021-09-08全國專業技術人員計算機應用能力考試用書 AutoCAD2004
- 2021-09-08EXCEL在工作中的應用 制表、數據處理及宏應用PDF下載
- 2021-08-30從零開始AutoCAD 2014中文版機械制圖基礎培訓教程 [李
- 2021-08-30從零開始AutoCAD 2014中文版建筑制圖基礎培訓教程 [朱
- 2021-08-30電氣CAD實例教程AutoCAD 2010中文版 [左昉 等編著] 20
- 2021-08-30電影風暴2:Maya影像實拍與三維合成攻略PDF下載
- 2021-08-30高等院校藝術設計案例教程中文版AutoCAD 建筑設計案例
- 2021-08-29環境藝術制圖AutoCAD [徐幼光 編著] 2013年PDF下載
- 2021-08-29機械AutoCAD 項目教程 第3版 [繆希偉 主編] 2012年PDF