這類零件的徑向和軸向尺較大,一般要求加工外圓、端面及內孔,有時還需調頭加工。為保證加工要求和數控車削時工件裝夾的可靠性,應注意加工順序和裝夾方式。圖1所示為一個比較典型的盤類零件,除端面和內孔的車削加工外,兩端內孔還有同軸度要求。為保證車削加工后工件的同軸度,采取先加工左端面和內孔,并在內孔預留精加工余量0.3mm,然后將工件調頭安裝,在錘完右端內孔后,反向錘左端內孔,以保證兩端內孔的同軸度。其數控車削程序編寫如下:

圖1 典型盤形件
(1)左端面的加工 左端面的加工過程如圖2所示,圖中▲為定位點,▽為夾緊點,工件原點設置在右端,數控程序如下:

圖2 左端加工過程
O0022 /程序編號O0022
N0 G50X200.0Z60.0; /設置工件原點在右端面
N2G30U0W0; /直接回第二參考點
N4G50S1500T0101M08; /限制最高主軸轉速為1500r/min,調01號車刀
N6G96S200M03; /指定恒切削速度為200m/min
N8G00X198.0Z3.0; /快速走到外圓粗車始點(198.6,3.0)
N10G0l ZO.3F0.3; /接近端面圓弧切削起點
N12G03X200.6Z-1.0Rl.3 /車削開始
N14G0l Z-20.0; /Φ200mm外圓粗車
N16G00X200.6Z0.3; /快速走到右端面粗車起點
N18G01X98.0; /右端面粗車
N20G30U0 W0;
N22T0202; /調02號精車刀
N24G00X198.OZl.0; /快速走到端面精車起點
N26G42G01Z0.0F0.15; /刀具右偏
N28G03X200.O Z-1.0R1.O; / R1端面圓角精車
N30Z-20.0; /Φ200mm外圓精車
N32G00X200.6Z0; /快速走到右端面精車起點
N34G41X200.0; /刀具左偏
N36X98.0; /右端面精車起點
N38G40 G30U0W0;
N40T0303; /調03號粗鏜刀
N42G00X69.4Z0; /快速走到內孔粗鏜起點
N44Z-12.0; /刀具快進
N46G0lZ-32.0; /Φ69mm內孔粗鏜
N48G03X66.0Z-33.7R1.7; /R2mm內圓角粗鏜
N50X57.4;
#p#分頁標題#e#N52Z45.0; /Φ58mm內孔粗鏜
N54G03X56.0Z45.7R0.7; / R1mm內圓角粗鏜
N56X53.0;
N58Z-60.0; /53mm內孔粗
N60G00 U-1Z3.0M09; /快速退刀
N62G30U0W0:
N64M30:
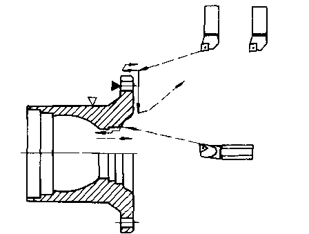
(2)右端的加工 右端的加工過程如圖3所示。工件原點設置在右端,其數控程序如下:

圖3 右端加工過程
O0023 /程序編號O0023
N0G50X100.0Z60.0; /設置工件原點在右端面
N3G30U0W0; /直接回第二參考點
N6G50S1500T0101M08; /限制最高主軸轉速為1500r/min,調01號車刀
N9G96S200M03; /指定恒切削速度為200m/min
N12G00X87.0 Z0.3; 快速走到右端粗車始點(87.0,0.3)
N15GOlX75.0F0.3; /右端粗車
N18G00X201.0Z1.0; /快速退刀
N21Z-112.7; /快速走到左端點(201.0.-112.7)處,以便粗車左端面
N24G01X151.0F0.3; /粗車左端面
N27G30U2W2;
N30T0202; /調02號精車刀
N33GOOX87.0Z0.O; /快速走到右端精車始點
N35G01X75.0F0.15; /精車右端面
N38G00X201.0Z1.O; /快速退刀
N41Z-113.0; /快速走到左端點(201,—113)處,以便精車左端面
N44G01X-151.0F0.15; 精車左端面 ‘
N47G30U2.O W20;
N50T0303; /調03號粗鏜刀
N53G00X77.0Z0.3;
N58G02X74.4Z-1.0R1.3F0.3;/粗鏜右端圓角R1
N61G01Z-187; /粗鏜Φ75mm內孔
N64X68.4; /臺階粗鏜
N67Z-38.7; /粗鏜Φ69mm內孔
N70X62.0; /臺階粗鏜
N73G00Z3.0; /快速退刀
N76G30U0W0;
N79T0404; /調04號精鏜刀
N82G00X77.0Z0.6; /快速走到精鏜起點
N85G4l G01Z0 F0.15; /刀具左偏
#p#分頁標題#e#N88G02X75.0Z-1.0R1.0; /鏜Rlmm圓弧
N91G01Z-19.0; /精鏜Φ75mm內孔
N94X69.0; /臺階精鏜
N97Z-39.0; /精鏜Φ69mm內孔
N100X62.O; /臺階精鏜
N103G00Z3.0; /快速退刀
N106G30U0WO;
N109T0505; /調05號反向精鏜刀
N112G00X0Z0; /刀具快進
N115Z-122.0; /刀具快進到點(0,122)
N118X70.0; /刀具快進到點(70,122)
N12lG42G01Z-121.0; /刀具右偏
N124Z-101.0; /反向精鏜Φ70mm內孔
N127G02X66Z-99.0R2.0; /反向精鏜R2mm圓弧
N130X58.0; /反向精鏜臺階
N133Z-88.0; /反向精鏜Φ58mm內孔
N136G02X56.0Z-87.0R1.0; / 反向精鏜Rlmm圓弧
N139X53.0; /反向精鏜臺階
N142G40G00Z3.0:
N145G30U0W0 M09:
N148M30: