中華人民共和國國家標準
UDC 744 43
機械制圖
GB 131-83
表面粗糙度代號及其注法
代替GB 131-74
Mechanical drawings
Surface reoughness symbols and
methods of indicating
1 引言
1.1 本標準規定了零件表面粗糙度代〔符〕號及其在圖樣上的注法。
圖樣上所標注的表面粗糙度代〔符〕號,是該表面完工后的要求。
有關表面粗糙度的各項規定應按功能要求給定。若僅需要加工但對表面粗糙度的其它規定沒有要求時,可以只注表面粗糙度符號。
1.2 本標準等效采用國際標準ISO 1302-1978《圖樣上表面特征的表示法》。
1.3 與本標準有關的國家標準:
GB 3505-83《表面粗糙度 術語 表面及其參數》
GB 1031-83《表面粗糙度 參數及其數值》
2 表面粗糙度代〔符〕號
2.1 圖樣上表示零件表面粗糙度的符號見表1。
表1

2.2 表面粗糙度高度參數輪廓算術平均偏差Ra值的標注見表2,Ra在代號中用數值表示(單位為微米)。
表2

2.3 其他表面粗糙度高度參數,輪廓微觀不平度十點高度Rz、輪廓最大高度Ry值(單位為微米)的標注見表3,參數值前需標注出相應的符號。
表3

續表3

2.4 取樣長度應標注在符號長邊的線下面,見圖1。
若按GB 1031附錄B中表B1、B2選用對應的取樣長度時,在圖樣上可省略標注。

圖1
2.5 若需要標注表面粗糙度間距參數輪廓的單峰平均間距S值,輪廓微觀不平度的平均間距Sm值或輪廓支承長度率tp時,應注在符號的橫線下面的括號內,數值寫在相應符號的后面。圖2a是輪廓微觀不平度的平均間距Sm的標注示例。圖2b是輪廓支承箍度率tp的標注示例,表示水平截距C在輪廓最大高度Ry的50%位置上,支承長度率為70%。給出的百分數為最小允許值。

圖2
2.6 如該表面的粗糙度要求需由指定的加工方法獲得時,可用文字標注在符號長邊的橫線上面,見圖3。

圖3
2.7 在符號長邊的橫線上面也可以注寫鍍涂或其它表面處理的要求。
需要表示鍍涂或其它表面處理后的表面粗糙度值時,標注方法見圖4a。
需要表示鍍涂前的表面粗糙度值時,應另加說明,見圖4b。
若同時要求表示鍍涂前及鍍涂后的表面粗糙度值時,標注方法如圖4c。

圖4
2.8 需要控制表面加工紋理方向時,可在符號的右邊加注加工紋理方向符號,見圖5。常見的加工紋理方向符號見表4。

圖5
2.9 需要標注加工余量時,應注在符號的左側,見圖6。

圖6
表4

續表4

注:若表中所列符號不能清楚地表明所要求的紋理方向,應在圖樣上用文字說明。
2.10 表面粗糙度符號的畫法見圖7。

d'=1/10h
H=1.4h
h為字體高度
圖7
2.11 加工紋理方向符號的畫法見圖8。
2.12 表面粗糙度數值及其有關的規定在符號中注寫的位置見圖9。

d'=1/10h
h為字體高度
圖8

d'=1 10h
h 為字體高度
a1、a2--粗糙度高度參數的允許值(單位為微米);
b--加工方法、鍍涂或其它表面處理;
c--取樣長度(單位為毫米);
d--加工紋理方向符號
e--加工余量(單位為毫米);
f--粗糙度間距參數值(單位為毫米)或輪廓支承長度率。
3 圖樣上標注方法
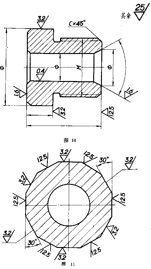
3.1 表面粗糙度代(符)號應注在可見輪廓線、尺寸線、尺寸界線或它們的延長線上;對于鍍涂表面,可注在表示線(粗點劃線)上,見圖4c。符號的尖端必須從材料外指向表面,見圖10、圖11。
表面粗糙度代號中數字及符號的方向必須按圖10、圖11的規定標注。
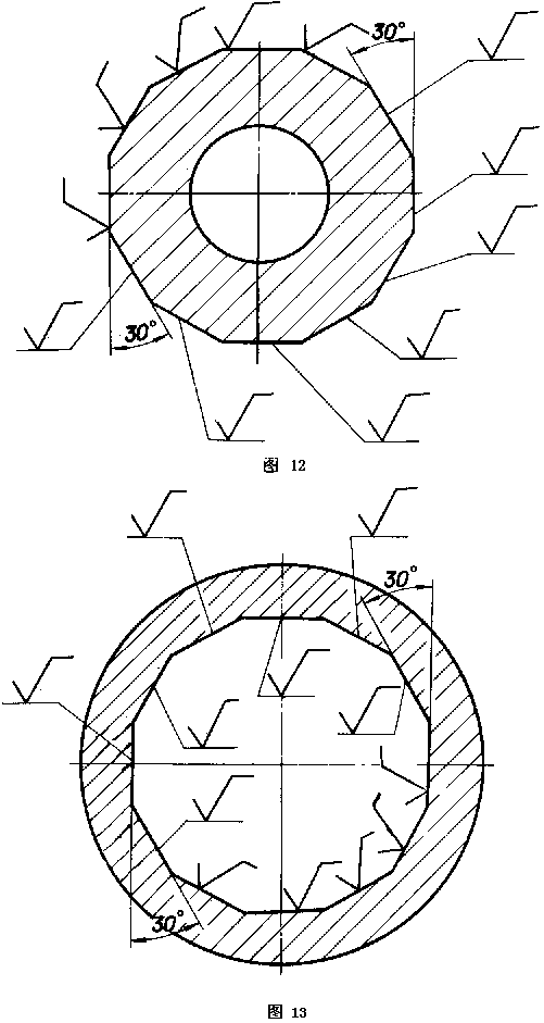
帶有橫線的表面粗糙度符號應按圖12、圖13規定標注。


3.2 在同一圖樣上,每一表面一般只標注一次代〔符〕號,并盡可能靠近有關的尺寸線,見圖10。
當地位狹小或不便標注時,代〔符〕號可以引出標注,如圖14、圖18。
當用統一標注和簡化標注的方法表達表面粗糙度要求時,其代號和文字說明均應是圖形上其它表面所注代號和文字的1.4倍,見圖10、圖15、圖16。
3.3 當零件所有表面具有相同的表面粗糙度要求時,其代〔符〕號,可在圖樣的右上角統一標注,見圖15。
3.4 當零件的大部分表面具有相同的表面粗糙度要求時,對其中使用最多的一種代〔符〕號可以統一注在圖樣的右上角,并加注“其余”兩字,見圖10、圖14。

3.5 為了簡化標注方法,或者標注位置受到限制時,可以標注簡化代號,見圖16。但必須在標題欄附近說明這些簡化代號的意義。
也可采用省略的注法,見圖17,但應在標題欄附近說明這些簡化代〔符〕號的意義。

圖16

圖17
3.6 零件上連續表面及重復要素(孔、槽、齒……等)的表面(圖18、19)和用細實線連接不連續的同一表面(圖14)其表面粗糙度代〔符〕號只標注一次。

圖18

圖19
3.7 同一表面上有不同的表面粗糙度要求時,須用細實線畫出其分界線,并注出相應的表面粗糙度代號和尺寸,見圖20。

圖20
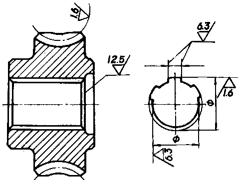
3.8 中心孔的工作表面,鍵槽工作面,倒角、圓角的表面粗糙度代號,可以簡化標注,見圖21。

圖21
3.9 齒輪、漸開線花鍵、螺紋等工作表面沒有畫出齒(牙)形時,其表面粗糙度代號可按圖22~27的方式標注。
3.10 需要規定表面粗糙度測量截面的方向時,其標注方法見圖28。

3.11 需要將零件局部熱處理或局部鍍(涂)時,應用粗點劃線畫出其范圍并標注相應的尺寸,也可將其要求注寫在表面粗糙度符號內,見圖29、圖30。

附加說明:
本標準由中華人民共和國機械工業部提出,由機械工業部標準化研究所歸口。
本標準由機械工業部標準化研究所,浙江大學,華東紡織工學院等單位負責起草。
本標準主要起草人汪愷、尤紹權、倪宜平。
相關文章
- 2021-09-08BIM技術叢書Revit軟件應用系列Autodesk Revit族詳解 [
- 2021-09-08全國專業技術人員計算機應用能力考試用書 AutoCAD2004
- 2021-09-08EXCEL在工作中的應用 制表、數據處理及宏應用PDF下載
- 2021-08-30從零開始AutoCAD 2014中文版機械制圖基礎培訓教程 [李
- 2021-08-30從零開始AutoCAD 2014中文版建筑制圖基礎培訓教程 [朱
- 2021-08-30電氣CAD實例教程AutoCAD 2010中文版 [左昉 等編著] 20
- 2021-08-30電影風暴2:Maya影像實拍與三維合成攻略PDF下載
- 2021-08-30高等院校藝術設計案例教程中文版AutoCAD 建筑設計案例
- 2021-08-29環境藝術制圖AutoCAD [徐幼光 編著] 2013年PDF下載
- 2021-08-29機械AutoCAD 項目教程 第3版 [繆希偉 主編] 2012年PDF