中華人民共和國國家標準
UDC 621.71:744
機械制圖
.4:621.88
螺紋及螺紋緊固件畫法
GB 4459.1-84
Mechanical drawings
代替GB 133-74
Conventional representation of
screw threads and threaded parts
1 引言
1.1 本標準規定了在機械圖樣中表示螺紋及螺紋緊固件的畫法。
1.2 本標準等效采用國際標準ISO6410-1981《技術制圖--螺紋的習慣表示法》。
1.3 與本標準有關的國家標準:
GB 4457.4-84《機械制圖 圖線》
GB 192-81《普通螺紋 基本牙型》
GB 193-81《普通螺紋 直徑與螺距系列》
GB 196-81《普通螺紋 基本尺寸》
GB 2515-81《普通螺紋 術語》
GB 784-65《梯形螺紋》
2 螺紋的畫法
2.1 螺紋的牙頂用粗實線表示;牙底用細實線表示,在螺桿的倒角或倒圓部分也應畫出。在垂直于螺紋軸線的投影面的視圖中,表示牙底的細實線圓只畫約3/4圈,此時軸或孔上的倒角省略不畫(圖1~3)。
在垂直于螺紋軸線的投影面的視圖中,需要表示部分螺紋時,螺紋的牙底線也應適當地空出一段距離,如圖4所示。


2.2 完整螺紋的終止界線(簡稱螺紋終止線)用粗實線表示,外螺紋終止線的畫法如圖1a、圖2a;內螺紋終止線的畫法如圖3、圖5a。
2.3 當需要表示螺紋收尾時,螺尾部分的牙底用與軸線成30°的細實線繪制(圖1a、5a)。
2.4 不可見螺紋的所有圖線按虛線繪制(圖6)。

圖6
2.5 無論是外螺紋或內螺紋,在剖視或剖面圖中剖面線都必須畫到粗實線(圖2~5)。
2.6 繪制不穿通的螺孔時,一般應將鉆孔深度與螺紋部分的深度分別畫出(圖3、5a)。
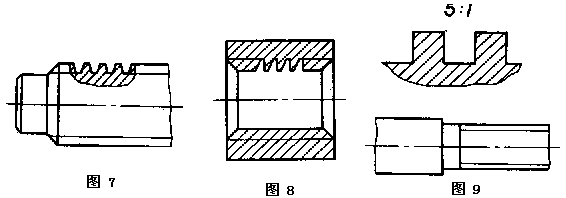
2.7 當需要表示螺紋牙型時,可按圖7~9的形式繪制。

2.8 以剖視圖表示內外螺紋的連接時,其旋合部分應按外螺紋的畫法繪制,其余部分仍按各自的畫法表示(圖10、11)。

3 螺紋的標注方法
3.1 對于標準的螺紋應注出相應標準所規定的螺紋代號或標記(圖12~15)。

3.2 英寸制的管螺紋、錐螺紋以及錐管螺紋允許沿用下表所列的符號標注,其注法如圖16~19所示。


3.3 牙型、直徑及螺距均符合標準,但極限偏差不符合標準的螺紋,除應注明螺紋代號外,還應注出極限尺寸。
例:

注:d2為外螺紋的中徑,d為外螺紋的大徑。
3.4 牙型符合標準,直徑或螺距不符合標準的螺紋,應在牙型符號前加注“特”字,必要時也可注出極限尺寸。
例:

3.1 繪制非標準牙型的螺紋時,應畫出螺紋的牙型,并注出所需要的尺寸及有關要求(圖20)。

圖20
3.6 圖樣中所標注的螺紋長度,均指不包括螺尾在內的完整螺紋長度,見圖21。當需要標出螺尾長度時,其標注方法見圖22。

4 螺紋緊固件的簡化畫法
4.1 具有圓錐形螺紋的機件,螺紋部分的畫法如圖23、圖24所示。

4.2 木螺釘的螺桿部分按圖25繪制。

圖25
4.3 自攻螺釘的螺桿部分,末端為尖端時按圖26a繪制,末端削平時按圖26b繪制。

圖26
4.4 鋼絲螺套的裝配圖按圖27、圖28繪制。

4.5 在裝配圖中,當剖切平面通過螺桿的軸線時,對于螺柱、螺栓、螺母及墊圈等均按未剖切繪制(圖29)。也可采用圖30的簡化畫法。
本規定也適用于裝配圖中各種螺釘(圖31~34)。

4.6 在裝配圖中,內六角螺釘可按圖31繪制,螺釘間部的一字槽、十字槽、十字槽可按圖26、圖
32~34的方法繪制。
4.7 在裝配圖中,對于不穿通的螺紋孔,可以不畫出鉆孔深度,僅按螺紋部分的深度(不包括螺尾)畫出(圖27、28、30~32)。


相關文章
- 2021-09-08BIM技術叢書Revit軟件應用系列Autodesk Revit族詳解 [
- 2021-09-08全國專業技術人員計算機應用能力考試用書 AutoCAD2004
- 2021-09-08EXCEL在工作中的應用 制表、數據處理及宏應用PDF下載
- 2021-08-30從零開始AutoCAD 2014中文版機械制圖基礎培訓教程 [李
- 2021-08-30從零開始AutoCAD 2014中文版建筑制圖基礎培訓教程 [朱
- 2021-08-30電氣CAD實例教程AutoCAD 2010中文版 [左昉 等編著] 20
- 2021-08-30電影風暴2:Maya影像實拍與三維合成攻略PDF下載
- 2021-08-30高等院校藝術設計案例教程中文版AutoCAD 建筑設計案例
- 2021-08-29環境藝術制圖AutoCAD [徐幼光 編著] 2013年PDF下載
- 2021-08-29機械AutoCAD 項目教程 第3版 [繆希偉 主編] 2012年PDF